例2 流體溫度變化引起流量測量誤差
青島某廠的一臺220t/h鍋爐,發汽流量和進水流量均用孔板流量計測量,鍋爐長期以來一直滿負荷運行,但有一個不解之謎,即發汽流量總是比鍋爐進水流量與減溫水流量之和高2%左右。照理說根據差壓式流量計測量結果計算出來的平衡差能達到≤2%已屬不易,但運行人員仍不滿意。于是儀表人員對孔板計算書進行復算,對各臺儀表進行復驗,對儀表安裝進行檢查均未發現問題。最后要求儀表制造廠作解釋。于是有關人員對這兩個測量系統方方面面的情況作了較全面的調查。最后,當問及流體實際運行工況同孔板計算書中的設計工況是否偏離時,運行人員解釋除氧水溫度因故比設計條件低50℃,而這一偏離在進水流量表中既未作相應的修正,也未引入溫度補償。由于溫度的這一偏離,使流體實際密度增大4%,進水流量計偏低2%是理所當然的事。
例3 液體溫度升高,體積膨脹,體積流量相應增大
江蘇某化工廠兩臺DN100電磁流量計分別測量兩根管道的兩種稀酸,匯合后進入總管,并由DN200mm電磁流量計計量總流量。使用單位向儀表制造廠反映總表流量為分表流量之和的120%~130%,認為3臺儀表均不準確。經現場了解,管道壓力為0.6MPa絕對壓力,兩分管液體溫度為30℃,混合液體進入總表前經反應器熱交換,溫度升高到180℃。假定稀酸的溫度體積膨脹系數與水相近,從30℃升高到180℃體積增加約12%,可判定總表和分表總和之間讀數差主要是液體溫度變化所致。此外,0.6MPa絕對壓力158.5℃水已開始沸騰,流過總表的流體,在液體中夾有部分蒸汽,亦會增加總表體積流量的讀數,可認為找到了總表讀數多20%~30%的原因。
④用冷凝水量驗證蒸汽流量計的準確性。有許多蒸汽用戶是取用蒸汽中的熱量,此蒸汽經過流量表計量后送用熱設備,蒸汽放出熱量后變成質量相等的冷凝水,然后從疏水器排出。將一段時間內的冷凝水收集起來,測量其質量,然后與同一段時間內蒸汽表所計的總量比較,驗證蒸汽表的準確性。這種方法是在流量計安裝使用現場經常使用的簡單而易行的方法,但應注意下面兩點。
a.冷凝水在排出疏水器時總要夾帶少量的蒸汽,進行總量比較時應予考慮,最好是將疏水器排入裝有適量冷水的容器底部,從而使殘余的蒸汽全部變成冷凝液后再測量。
b.如果流經流量表的是飽和蒸汽,必須考慮其中夾帶的水滴對平衡計算的影響。現在使用渦街流量計測量蒸汽流量的方法應用十分普遍,而渦街流量計對蒸汽中的水滴基本不響應,而在疏水器的排出液中卻包含了這些水滴,因此,如果蒸汽的濕度為5%,那么冷凝水總量比蒸汽流量表所計的總量高5%則屬正常。困難的是蒸汽的濕度究竟是多少難以測量。只知道在進流量計之前,如果管道上裝有疏水器,則可將分層流動的水排放掉,這時蒸汽中的水滴含量約為0~5%(質量比)。
⑤運用物料平衡法時應注意的問題
a.儀表的安裝應符合規程要求,如果因現場條件限制無法完全滿足,則在核算時應對由此引起的誤差作出評估。
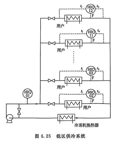
例4 一幢大樓的低區冷凍水系統(見圖6.25)流量測量總表與各分表示值之和差5%
該系統共有12臺分表,管徑從DN80~DN200,均用WSF型電磁流量計測量流量,而總管為DN600,采用WSTDS型夾裝式超聲流量計測量流量。供水溫度和回水溫度也接入二次表,以實現對冷量的計量。總管流量計HIQ01由于管徑大,對直管段要求高,現場無法滿足要求,前直管段只能勉強達到5D,儀表投運后發現總管流量示值比各分管流量示值低5%。

在作系統誤差分析中,工作人員核對了各分表的數據設置和各臺表所對應的用戶的設備能力,確認流量示值可信。尤其是該型號電磁流量計精確度較高,其基本誤差限為±0.3%R,因此初步判定5%的量差主要是由于總管流量計誤差大引起的。
在分析直管段長度不夠對超聲流量計示值影響的過程中,三條曲線(見圖6.21)都表明夾裝式單聲道超聲流量計在直管段不夠長時示值偏低,在前直管段長度為5D時,示值約偏低5%。從而使總表與分表計量差的矛盾找到了答案。
b.防止流體倒流導致重復計量而引入誤差。
例5 間歇發料系統(見圖6.26)停泵期間泵出口外管內存料返回到泵的進口
上海某氯堿廠用泵將料液從一個部門打到另一個部門,輸送量由一臺智能電磁流量計測量。當一批料輸送完畢泵即停止運轉,于是泵出口外管內的料液返回泵的進口。由于外管直徑大,線路長,所以每次返回量較大。一段時間只發現流量計所計總量比儲槽中用容積法所計總量大,但原因不明。后來檢查中調閱智能流量計所保存的總量值,才明白問題所在,該儀表中保存的總量值有三個,即正向總量QD、反向總量QR以及正反總量之差Q=QD-QR結果儲槽中用容積法所計總量值與Q基本相等,于是電磁流量計面板顯示總量指定為Q,問題得到解決。

例6 并聯運行的兩臺鍋爐產汽流量重復計量(見圖6.27)
某公司有兩臺并聯運行的全自動燃油鍋爐,其中一臺A正常發汽,另一臺B作熱備,兩臺鍋爐的汽包出口管上均裝有渦街流量計,經計量的蒸汽送分配器。發汽總量和耗汽總量統計中發現發的量多耗的量少。經仔細觀察發現處于熱備狀態的鍋爐,其汽包所耗散的熱量取自正常發汽的鍋爐,不僅如此,由于分配器壓力總是有些波動,在分配器壓力降低時,鍋爐B汽包對分配器供汽,流量計計出供汽量。在分配器壓力升高時,分配器對鍋爐B汽包充汽,這部分汽也是經常有變化,重復計量也經常發生,最后導致總表所計總量(FIQ01和 FIQ02 所計總量之和)明顯高于耗汽總量。而且壓力波動幅值越大,越頻繁,總表所計總量偏高越多。
在工廠煤氣發生站也有類似的情況,煤氣連通管壓力升高時,系統對停用發生爐的氣容充氣,煤氣連通管壓力降低時,停用發生爐的氣容對系統“供氣”,儀表計出“供氣”量。
(2)熱量平衡法 將與被測流量相關聯的有關數據代入熱量平均方程式,計算出流量理論值,用以驗證流量計示值,這是儀表工程師們常用而有效的驗證方法。
除氧器頂部排放氧氣的時候還要帶走少量蒸汽,排放量以加熱耗汽量的3%計,則除氧器總汽量應為1404kg/h。
本例計算是建立在除氧器送出的除氧水全部進入鍋爐并全部變成蒸汽這一基礎上,因此汽水系統不能有泄漏,測試期間不能排污,而且汽水采樣損失的水量作忽略不計考慮。如果采樣量較大而不容忽略,則應對損耗量作一測試或估算。
(3)設備能力估算法
根據設備能力來估算流量是個“古老”的方法,早在幾十年前,煤氣公司就用煤氣壓縮機開機臺時作為輸送煤氣的計量手段,直到有了較先進的煤氣流量計的現在,這一方法仍作為監視、核對流量計示值的手段。
運用該方法時,應注意下面各點。
a.壓縮機出口壓力應為規定值,因為出口壓力不同,壓縮機的內泄量也相應變化。如果達不到規定值,應計入此因素對排氣量的影響。
b.設備的效率同其完好狀況密切相關,在其完好狀況不佳時,輸出流量相應減小。
c.壓縮機畢竟不是計量器具,它沒有計量準確度的概念,同一種型號同一個規格的壓縮機,在規定的條件下考核,排氣量也允許有-5%~+10%的差異。多年來人們沿用這一方法,一是煤氣壓縮機出現得早,在其投入工業應用時還沒有合適的流量計可選用;二是有“定排量”的概念,即壓縮機每旋轉一周或每往復一次,就有固定量的氣體被吸入和排出;三是因為出口壓力很低,機內泄漏可以忽略,在其他類型的壓縮機上,因為出口壓力較高,機內泄漏受多種因素影響,仍使用這個方法不夠可靠。
將這一方法引申到泵上,也應區別對待,因為泵的種類很多。對于齒輪泵,屬正排量類型,用其銘牌上所標的輸送流量數據作參照,意義較大,但應考慮出口壓力、流體黏度和齒輪新舊程度對機內泄漏的影響。出口壓力越高、流體黏度越小、齒輪磨損越嚴重,機內泄漏越大。對于離心泵,其銘牌上所標的輸送流量數據基本上不能用作驗證流量計示值的依據。下面的三個例子都是由使用單位用離心式水泵銘牌數據驗證流量計示值和由于對水泵的特性認識不深而引發的誤解。
例8 兩臺同規格水泵由于實際性能差異引發的誤解
某水廠兩臺同規格水泵輸給兩條管線,分別裝有DN600mm電磁流量計,布置如圖6.28 所示。該水廠運行人員從泵銘牌上的額定流量來核對儀表讀數,稱泵A通A表(即關閉閥C)儀表誤差為+(10~15)%,泵B通B表誤差為-5%,認為兩臺儀表均不準確。技術當即利用裝有閥C的有利條件,試測泵A通B表和泵B通A表的流量,得出與上述相近的數據。兩臺流量計測出同一臺泵的輸水量相近,證明除管網負載有些差別外,主要是兩臺水泵性能上的差異。

例9 揚程差別大的泵并聯運行誤認為流量儀表間相互干擾
吉林某廠用幾臺泵并聯輸送液體,每臺泵的下游各裝有電磁流量計,然后匯集總管輸出。各泵單臺運行(或其中幾臺并聯)都很正常,但增開某一臺泵并入管系,原來運行各泵的儀表指示流量明顯減少,甚至出現指示反向流現象。運行人員認為該特定泵所裝電磁流量計干擾了其他運行中的儀表。經檢查確認為儀表正常,找出產生這一現象的原因是所增開泵的揚程比其他高得多,致使壓抑低揚程泵的輸出,使之減少,甚至倒流。
例10 多臺同規格泵并聯運行輸出量變化的誤解
河南洛陽某水廠A、B兩泵房如圖6.29所示,各裝有同規格水泵7臺,各自匯集到 DN700mm總管輸出。總管上各裝有一臺電磁流量計,在流量計下游兩總管接有連通管和閘閥,平時此閘閥全開。試開動兩泵房不同臺數的泵,得出如表6.3所示流量計上讀數。將A、B兩泵房開泵臺數對調,所得讀數亦相接近。水廠運行人員認為流量儀表線性不好,低流量時指示偏低,似乎開泵臺數增加,出水量應按比例地增加。實際不然,這是一種誤解,在表6.3所列的數據中,除了試驗序號4中B泵房開了一臺泵,而流量計讀數卻為零一項,可能是由該臺泵存在問題而引起,其余各項數據同預計的一致,都是由于對離心式水泵輸出特性認識有出入而引起的。其實,離心式水泵的輸出流量同其出口壓力有對應關系,出口壓力越低,輸出流量越大,反之則小。多臺離心式水泵并聯運行時,瞬間停掉其中的一臺泵,則繼續運行的各臺泵出口壓力下降,輸出流量增大。
